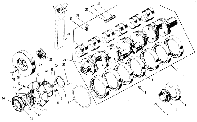
№ | Номер по каталогу | Кол-во | Наименование |
1 | 240-1000107-Б5 | 1 | Вал коленчатый, вкладыши, подшипники (комплект) |
2 | 240-1005042-Б | 1 | Маслоотражатель задний (сталь) |
3 | 240-1005030-Б2 | 1 | Шестерня распределительная коленчатого вала (сталь) |
4 | 314131-П2 | 1 | Шпонка призматическая (сталь) |
5 | 1ВО-2622134ЕМ | 7 | Подшипник роликовый |
5 | 1ВО-2622134ЛМ | 7 | Подшипник роликовый |
6 | 313933-П | 2 | Заглушка шатунной шейки |
7 | 240-1005373-А | 13 | Кольцо пружинное упорное подшипника (сталь) |
8 | 240-1005589-Б | 1 | Кольцо упорное коленчатого вала (сталь) |
9 | 240-1005585 | 1 | Втулка уплотнения масляного канала корпуса упорного подшипника (сталь) |
10 | 240-1005586 | 1 | Кольцо уплотнительное масляного канала (резина) |
11 | 240-1005610 | 1 | Пружина распорная уплотнительных колец (сталь) |
12 | 262519-П2 | 1 | Пробка К 1/2 (чугун) |
13 | 240-1005584-В | 1 | Крышка корпуса упорного подшипника передняя (сталь) |
14 | 240-1005592 | 2 | Кольцо упорное промежуточное (бронза) |
15 | 240-1005600 | 2 | Кольцо уплотнительное упорного подшипника (бронза) |
16 | 200315-П29 | 9 | Болт М10*40 (сталь) |
17 | 312554-П2 | 9 | Шайба стопорная (сталь) |
18 | 240-1005537 | 8 | Болт крепления полумуфты отбора мощности (сталь) |
19 | 240-1005078 | 4 | Пластина замковая (сталь) |
20 | 240-1005000-А2 | 1 | Вал коленчатый в сб. |
21 | 240-1005611 | 1 | Штифт упорного кольца (сталь) |
22 | 201466-П2 | 5 | Болт М8*45 крепления крышек (сталь) |
23 | 252155-П2 | 5 | шайба пружинная (сталь) |
24 | 240-1005583-Б | 1 | Крышка корпуса упорного подшипника задняя (сталь) |
25 | 240-1005580-В | 1 | Корпус упорного подшипника (алюминевый сплав) |
26 | 240-1005532 | 1 | Полумуфта отбора мощности в сб. |
27 | 240-1005070-Б | 1 | Гаситель крутильных колебаний коленчатого вала |
28 | 240-1000104-Б2 | 1 | Вкладыши шатунных подшипников 88 мм., комплект (сталь-бронза) |
28 | 240-1000104-Б2-Р1 | 1 | Вкладыши шатунных подшипников (-0,25 мм.), комплект, (сталь-бронза) |
28 | 240-1000104-Б2-Р2 | 1 | Вкладыши шатунных подшипников (-0,50 мм.), комплект, (сталь-бронза) |
28 | 240-1000104-Б2-Р3 | 1 | Вкладыши шатунных подшипников (-0,75 мм.), комплект, (сталь-бронза) |
28 | 240-1000104-Б2-Р4 | 1 | Вкладыши шатунных подшипников (-1 мм.), комплект, (сталь-бронза) |
28 | 240-1000104-Б2-Р5 | 1 | Вкладыши шатунных подшипников (-1,25 мм.), комплект, (сталь-бронза) |
28 | 240-1000104-Б2-Р6 | 1 | Вкладыши шатунных подшипников (-1,50 мм.), комплект, (сталь-бронза) |
29 | 240-1005596-Б | 8 | Заглушка масляного канала (сталь) |
30 | 240-1005582-Б | 8 | Кольцо уплотнительное (резина) |
31 | 240-1005576 | 8 | Кольцо уплотнительное заглушка (резина) |
32 | 240-1005089-А | 8 | Кольцо упорное (сталь) |
33 | 240-1005086-Б2 | 8 | Заглушка шатунной шейи (сталь) |